Наши путешествия
Главная strelka УкраинаstrelkaКрым strelkaДостопримечательности Крыма strelka«Пещерный город» Эски-Кермен
Достопримечательности История

«Пещерный город» Эски-Кермен

Эски-Кермен

Эски-Кермен находится недалеко от Мангупа в б км к от села Залесное (если идти пешком). Автомобилистам надо ехать через село Красный Мак.

Городище Эски-Кермен расположено на хорошо укрепленном природой месте. Эски-Кермен переводится как Старая крепость. Плато окружено отвесными скалами. Кое-где сохранились остатки крепостных стен.

Крепость была основана в начале VI века. Основная функция крепости – защита подступов к Херсонесу. Это был крупный торговый и ремесленный центр, который имел на то время очень хорошие оборонительные сооружения. Крепость неоднократно подвергалась нападениям и разрушением. Первое крупное разрушение произошло в VIII веке. Хазары разрушили всю оборонительную систему крепости, после чего город долгое время без крепостных стен. Первые попытки восстановления обороны города были проведены в X веке.
Эски-Кермен

Эски-Кермен
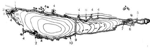
Эски-Кермен.План обороны
(по Е. В. Веймарну):

1 — боевые стены;
2 — следы боевых стен;
3 — предполагаемые места башен;
4 — пещерные казематы;
5 — следы мостика;
6 — северный дозорный комплекс;
7 — северная калитка;
8 — западная калитка;
9 — поперечная стена;
10 — осадный колодец

История города-крепости до X века малоизвестна, т.к. город был простым оборонительным сооружением. Окончательно город был разрушен ордами Ногая в 1299 году и прекратил свое существование. До наших дней сохранилось множество пещер (около 350 в крепости и около 50 вне ее) остальные сооружения не сохранились. На юго-востоке от города находится храм Трех всадников. Он вырублен в округлой каменной глыбе, рядом в глыбе меньших размеров вырублена кладовая. На северной стороне храма сохранилась фреска на которой изображены три всадника – святые Феодор Стратилат, Георгий Победоносец и Дмитрий. Вокруг храма располагалось эски-керменское кладбище.
  Дорога, ведущая к Эски-Кермен, ответвлялась от главного торгового пути и поднималась зигзагами к узкому коридору, вырубленному в скале. На этом месте когда-то были главные ворота. У третьего марша дороги находилась передовая стена, огибавшая выступ скалы перед главными воротами. Над воротами возвышалась башня, от которой в обе стороны шла крепостная стена. Все эти укрепления не дошли до наших дней, они были разрушены Хазарами. Небольшие пещерные церкви вдоль третьего марша появились уже после разрушения оборонительной системы города. Еще один участок обороны – Дозорный комплекс находится к северу от крепости на мысе, отделенном седловиной. Главная улица начиналась сразу за главными воротами, вдоль которой находится множество пещер, одна из которых вела в башню над воротами. Справа располагался пещерный храм, состоявший из четырех помещений. Улица проходила в направлении к центральной площади с базиликой. От главной дороги шло два ответвления на запад и на восток. Кроме главных городских ворот в городе еще были трое малых ворот, т.е. калитки с хорошо охраняемыми лестницами, вырезанными в скале. С северной части скалы в древности был подъем для пешеходов, вырезанные в скале ступени вели на седловину. От системы защиты входа сохранились многочисленные пазы в стенах прохода

Храм Успения находится на плато над тем местом, где расположен храм Трех всадников. На северной и западной стенах и на потолке храма сохранились фрагменты фресковой росписи. Рядом с храмом находятся остатки усыпальницы и кельи.

Жилые здания строились на предварительно сглаженной скале и часто имели 2 этажа. 1 этаж приспосабливали под хозяйственные нужды, второй этаж использовали для жилья. Кровля была сделана из плоской черепицы, уложенной на деревянном настиле.

Археологи определили, что жилые постройки не являлись первоначальными, а было как минимум строительных периода.

Вырубленные в скале гробницы имеются в разных частях города и его ближайшей округе. В древности гробницы, вырубленные в скале, покрывались каменными плитами. Об этом свидетельствуют так называемые заплечики, вырубки по краям гробниц.

Уникальным сооружением является осадный колодец глубиной около 50м., который был создан одновременно с крепостью. В скале вырублена ведущая вниз лестница в шесть маршей, переходит в галерею (около 10 метров длиной) в которой с потолка сочилась вода, но после того как на внешней стене колодца появился пролом колодец утратил свое оборонное назначение. Так же в разных частях города имеются высеченные в скале мешки для сбора дождевой воды. В городе был водопровод, вода подавалась по глиняным трубам от родников, которые находились за 4 км на соседней возвышенности. На самой вершине плато в 1930 году археологами была раскопана базилика. Ученые установили, что это было прямоугольное в плане здание с тремя выступающими на восток абсидами. Здание разделялось колоннами на 3 нефа. Археологическое исследование 1930 г. показало, что Эски-Керменская базилика в древности пострадала от пожара. Позднее стены базилики были разрушены толчком землетрясения, направленным с юго-востока на северо-запад.

Ученые высказывают теорию, что Эски-Кермен, как крепость, вместе с остальными зданиями был построен сразу, в порядке государственного мероприятия, связанного с защитой северных границ Византийской империи, правительство Византии могло проявить заинтересованность и оказать содействие в сооружении системы обороны и крупных зданий Эски-Кермена.